View Cart: 0
SEARCH
Products
ThermoGrip Tool Holding
ThermoGrip Machines
Standard Chucks
TSF Slim Chucks
TER collets
TSFV Extensions
ThermoGrip Accessories
Tapping
Quick Change Chucks
Quick Change Adapters
SCK Synchro Chucks
SCK Synchro Accessories
Attachments TA
STA Synchro Tap Adapter
Reaming
Drilling
SBK-SEK
Adapters
Chucks
Accessories
MQL
MQL Overview
WFLC-MQL
SCK-MQL
Ratchet Program
Ratchet Overview
Ratchet Type R/RR
Air Couplings
Air Couplings Overview
Air Pressure Valves & Guns
Specialty Tools
HFP Intelligent Tools
Engraving Chuck
Stamping Chucks
Stud Driving Chucks
FormBore System Tools
CNC Tools
Collet Chuck Holders
Hi-Power Milling Chucks
Shell Mill Holders
Side Lock Holders
CNC Blank Bars
CNC Accessories
CNC Drill Chucks
Literature
About Us
Contact
(847) 734-9390
Request Info
[x]
Name
Phone
E-mail
Submit
Print page
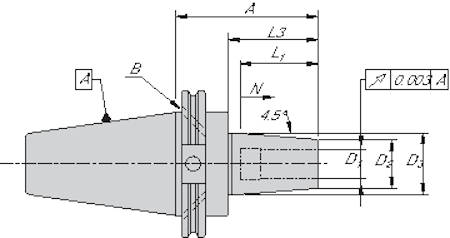
ThermoGrip® Standard Chucks CAT-40 (Inch)
ThermoGrip® Standard Chucks CAT-40 (Inch)
To add a part to your cart, click the
icon. To request information or a quote click View Cart.
Stock standard
, Non-stock standard
, Non-stock special
Description
A
D1
D2
D3
G
L1
L2
N
HSS
Ident No
T0318-95/CAT-40 1/8"
95
3.175
15
20
M6
20
66
5
No
9087264
Qty
Add
T0476-95/CAT-40 3/16"
95
4.7625
15
20
M6
20
66
5
No
9087265
Qty
Add
T0635-95/CAT-40 1/4"
95
6.35
21
27
M5
36
66
10
yes
9075136
Qty
Add
T0953-95/CAT-40 3/8"
95
9.525
24
32
M8x1
42
66
10
yes
9074678
Qty
Add
T1270-95/CAT-40 1/2"
95
12.7
27
34
M10x1
47
66
10
yes
9074679
Qty
Add
T1588-95/CAT-40 5/8"
95
15.875
27
34
M12x1
50
66
10
yes
9074680
Qty
Add
T1905-95/CAT-40 3/4"
95
19.05
33
42
M16x1
52
66
10
yes
9074681
Qty
Add
T2540-100/CAT-40 1"
100
25.4
44
53
M16x1
62
71
10
yes
9074675
Qty
Add
T3175-100/CAT-40 1-1/4"
100
31.75
44
53
M16x1
62
71
10
yes
9074647
Qty
Add
T0318-120/CAT-40 1/8"
120
3.175
15
20
M6
20
91
5
No
9087267
Qty
Add
T0476-120/CAT-40 3/16"
120
4.7625
15
20
M6
20
91
5
No
9087268
Qty
Add
T0635-120/CAT-40 1/4"
120
6.35
21
27
M5
36
91
10
yes
9074633
Qty
Add
T0953-120/CAT-40 3/8"
120
9.525
24
32
M8x1
42
91
10
yes
9074635
Qty
Add
T1270-120/CAT-40 1/2"
120
12.7
27
34
M10x1
47
91
10
yes
9074637
Qty
Add
T1588-120/CAT-40 5/8"
120
15.875
27
34
M12x1
50
91
10
yes
9074639
Qty
Add
T1905-120/CAT-40 3/4"
120
19.05
33
42
M16x1
52
91
10
yes
9074641
Qty
Add
T2540-120/CAT-40 1"
120
25.4
44
53
M16x1
62
91
10
yes
9074645
Qty
Add
T3175-120/CAT-40 1-1/4"
120
31.75
44
53
M16x1
62
91
10
yes
9074648
Qty
Add
T0318-160/CAT-40 1/8"
160
3.175
15
20
M6
20
131
5
No
9087270
Qty
Add
T0476-160/CAT-40 3/16"
160
4.7625
15
20
M6
25
131
5
No
9087271
Qty
Add
T0635-160/CAT-40 1/4"
160
6.35
21
27
M5
36
131
10
yes
9074634
Qty
Add
T0953-160/CAT-40 3/8"
160
9.525
24
34
M8x1
42
131
10
yes
9074636
Qty
Add
T1270-160/CAT-40 1/2"
160
12.7
27
42
M10x1
47
131
10
yes
9074638
Qty
Add
T1588-160/CAT-40 5/8"
160
15.875
27
42
M12x1
50
131
10
yes
9074640
Qty
Add
T1905-160/CAT-40 3/4"
160
19.05
33
42
M16x1
52
131
10
yes
9074642
Qty
Add
T2540-160/CAT-40 1"
160
25.4
44
53
M16x1
62
131
10
yes
9074646
Qty
Add
T3175-160/CAT-40 1-1/4"
160
31.75
44
53
M16x1
62
131
10
yes
9074649
Qty
Add
© 2026, ALL RIGHTS RESERVED. BILZ TOOL COMPANY, INC.
1140 NORTH MAIN STREET, LOMBARD, IL 60148
1-847-734-9390